
CR-30: Емкостные датчики с цилиндрическим корпусом М30х1,5
Описание бесконтактных емкостных датчиков ONDO
Бесконтактные датчики ONDO предназначен для применения в качестве первичного преобразователя в автоматизированных системах управления.
Бесконтактный датчик позволяет определять наличие объекта без механического контакта с ним. Датчики могут применяться для контроля положения объекта, подсчета количества, скорости движения, контроля уровня жидких или сыпучих продуктов в емкости. Объектом воздействия может быть объект изготовленный из металла или диэлектрика.
Модификации датчиков ONDO серии CR-30
|
CR-30N-25PA-D2 Бесконтактный емкостный датчик (М30х1.5, невстраиваемый, PNP, НО+НЗ, 10-30В, 25мм(с регулировкой), 20Гц, IP68), кабель 2м
|
|
|
CR-30N-25NA-D2 Бесконтактный емкостный датчик (М30х1.5, невстраиваемый, NPN, НО+НЗ, 10-30В, 25мм(с регулировкой), 20Гц, IP68), кабель 2м
|
|
|
CR-30N-15RC-A2 Бесконтактный емкостный датчик (М30х1.5, невстраиваемый, НЗ, ~20-250В, 15мм(с регулировкой), 15Гц, IP67), кабель 2м
|
|
|
CR-30N-15RO-A2 Бесконтактный емкостный датчик (М30х1.5, невстраиваемый, НО, ~20-250В, 15мм(с регулировкой), 15Гц, IP67), кабель 2м
|
Принцип действия емкостных датчиков ONDO
Датчик представляет собой цилиндрический корпус, в котором расположены чувствительный элемент и электронная схема.

В качестве чувствительного элемента (ЧЭ) применяются два электрода («развернутый» конденсатор). Совместно с генератором ЧЭ формирует колебательный контур. Во время работы конденсатор (чувствительный элемент) реагирует на изменение диэлектрической проницаемости между электродами.
При внесении объекта в электрическое поле датчика изменяется емкость между электродами (обкладками конденсатора), в результате изменяются параметры колебательного контура (амплитуда, частота тока) в электрической схеме. Датчик отслеживает изменение параметров и определяет наличие или отсутствие объектов в рабочей зоне.
Для сигнализации о приближении объекта используется дискретный сигнал. Подключение осуществляется с помощью кабельного вывода или разъема.
При подборе датчика необходимо ориентироваться на Гарантированный рабочий диапазон (Sa) — это расстояние от активной поверхности ЧЭ, в пределах которого обеспечивается постоянное срабатывание датчика во всем диапазоне нормированных условий эксплуатации.
Технические характеристики емкостных датчиков ONDO CR-30
| Параметр | Значение |
|---|---|
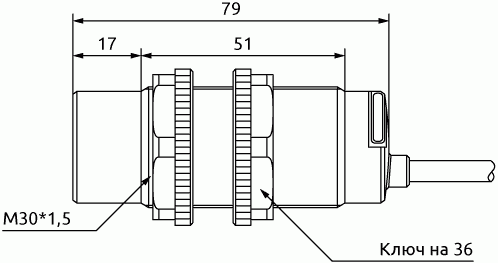
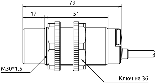
| Способ установки датчика | неутапливаемое исполнение |
| Номинальный рабочий диапазон (Sn) | 25 мм |
| Гарантированный рабочий диапазон (Sa) | 0…0,72*Sn |
| Размеры объекта воздействия | стальная пластина со сторонами 3Sn*3Sn*1мм |
| Тип корпуса | цилиндрический с резьбой и контр. гайками |
| Напряжение питания | =10…30 В |
| Потребляемый ток | не более 20 мА |
| Тип выходного сигнала | PNP / NPN (транзисторный) |
| Частота переключения | 20 Гц |
| Максимальная нагрузка дискретного выхода | не более 200 мА |
| Допустимая температура окружающей среды | -25…+70 °С |
| Допустимая влажность воздуха окружающей среды | 35…95 % |
| Встроенная защита |
защита от короткого замыкания, защита от перегрузки, защита от обратной полярности |
| Сопротивление изоляции | ≥50 МОм (=500 В) |
| Защита от внешних воздействий | IP68 |
| Способ подключения | кабель 2 метра |
| Сигнализация срабатывания | светодиод на корпусе |
| Материал корпуса | полибутилентерефталат |
Габаритные размеры емкостных датчиков ONDO серии CR-30
Схемы соединения емкостных датчиков ONDO CR-30
| CR | - | 30 | N | - | 25 | A | - | D | 2 | ||
|---|---|---|---|---|---|---|---|---|---|---|---|
| Серия | |||||||||||
| Цилиндрический корпус | CR | ||||||||||
| Типоразмер корпуса | |||||||||||
| М30х1,5 | 30 | ||||||||||
| Способ установки датчика в металл | |||||||||||
| Неутапливаемое исполнение | N | ||||||||||
| Номинальный рабочий диапазон (Sn) | |||||||||||
| Рабочее расстояние 25 мм | 25 | ||||||||||
| Тип выходного сигнала | |||||||||||
| PNP | P | ||||||||||
| NPN | N | ||||||||||
| Логика выходного сигнала | |||||||||||
| НО+НЗ | A | ||||||||||
| Номинальное напряжение питания | |||||||||||
| =24 В | D | ||||||||||
| Способ подключения | |||||||||||
| Кабель (2 метра) | 2 | ||||||||||
Пример: CR-30N-25NA-D2.


